|
|
| 产品中心 |
您的位置:首页 - 产品展示-自密封锻钢闸阀 |
自密封锻钢闸阀
|
| |

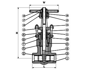
标准材质明细表
| 序号 |
零件名称 |
CStoASTM |
AStoASTM |
SStoASTM |
| A105 |
F22 |
F304(L) |
F316(L) |
| 1 |
阀体 |
A105 |
A182F22 |
A182F304(L) |
A182F316(L) |
| 2 |
阀座 |
A276420 |
A276304 |
A276304(L) |
A276316(L) |
| 3 |
闸板 |
A182F430&410 |
A182F304 |
A182F304(L) |
A182F316(L) |
| 4 |
阀杆 |
A182F6 |
A182F304 |
A182F304(L) |
A182F316(L) |
| 5 |
密封螺母 |
A105 |
A182F304 |
A182F304(L) |
F316(L) |
| 6 |
密封环 |
A216 304L |
A276316L |
| 7 |
阀盖 |
A105 |
A182F22 |
A182F304(L) |
A182F316(L) |
| 8 |
活节螺栓 |
A193B7 |
A193B16 |
A193B8(M) |
| 9 |
销钉 |
A276F420 |
A182F304(L) |
| 10 |
填料 |
柔性石墨 |
PTFE |
| 11 |
提升螺栓 |
A1942H |
A1944 |
A1948 |
A1948M |
| 12 |
填料压套 |
A276F420 |
A182F304 |
| 13 |
填料压板 |
A216WCB |
A182F304 |
| 14 |
螺母 |
A1942H |
A1944 |
A1948 |
A1948M |
| 15 |
阀杆螺母 |
A276-410 |
| 16 |
固定螺母 |
A1942H |
A1944 |
A1948 |
A1948M |
| 17 |
手轮 |
A197 |
| 18 |
锁紧螺母 |
A1942H |
A1944 |
A1948 |
A1948M |
| 19 |
油嘴 |
铜 |
| 适用介质 |
水、蒸汽、油品等 |
水、蒸汽、油品等 |
硝酸、醋酸等 |
| 适用温度 |
—29℃~425℃ |
—29℃~550℃ |
—29℃~200℃ |
注意:客户需求的其他材质也可采用.密封面材料配对客户指定内件代号决定
CS=碳钢;AS=合金钢;SS=不锈钢;
尺寸(MM)和重量(KG)
| NPS |
1/2" |
3/4" |
1" |
11/4" |
11/2" |
2" |
| L |
900Lb-150Lb |
140 |
140 |
140 |
178 |
178 |
216 |
| 2500Lb |
186 |
186 |
186 |
232 |
232 |
279 |
| H(开) |
321 |
321 |
321 |
380 |
414 |
502 |
| W |
160 |
160 |
180 |
200 |
250 |
280 |
| 重量 |
900LB-1500LB |
11.5 |
10.8 |
10.5 |
19.6 |
21.0 |
55.4 |
| 2500LB |
12.3 |
11.6 |
10.8 |
26.0 |
28.4 |
60.0 | |
|